- (À¯)±Ý°­±â¾÷ -
 

 > ¹è°üÀÚÀçºÐ¾ß > ¹ëºê·ù > Ã»µ¿ ¹ëºê
 
[ 5kgf/cm©÷ Bronze Gate Valve (KSB 2301) ]                   [ 10kgf/cm©÷ Bronze Gate Valve (KSB 2301) ]
[ 5kgf/cm©÷ Bronze Globe Valve (KSB 2301) ]                  [ 10kgf/cm©÷ Bronze Globe Valve (KSB 2301) ]  
[ 5kgf/cm©÷ Bronze Check Valve (KSB 2301) ]
                 [ 10kgf/cm©÷ Bronze Check Valve (KSB 2301) ]
[ 10kgf/cm©÷ Bronze Rediator Angle Valve (KSB 6405) ]    [ 10kgf/cm©÷ Bronze Union Elbow (KSB 6405) ]
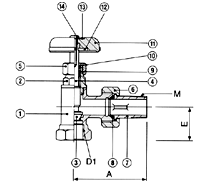
¢Þ 10kgf/cm©÷ Bronze Rediator Angle Valve (KSB 6405)

¢Þ Çѱ¹»ê¾÷±Ô°Ý Ç¥½ÃÇ㰡ǰ


              
Materials
NO ºÎǰ¸í ÀçÁú
1 ¸öü Bronze BC6
2 µ¤°³ Brass C3771
3 µð½ºÅ© Brass C3604
4 ¹ëºê´ë Brass C3604
5 ÆÐÅ·´©¸£°Ô³ÊÆ® Brass C3771
6 À¯´Ï¾ð³ÊÆ® Brass C3771
7 À¯´Ï¾ð´ÏÇà Brass C3771
8 °í¹«¸µ NBR
9 ÆÐÅ· Èæ¿¬
10 ÆÐÅ·´©¸£°Ô¸µ Brass C3604 BD
11 ÇÚµåÈÙ ¼öÁö
NO ºÎǰ¸í ÀçÁú
12 °¢Áú Fec
13 ¸íÆÇ AL 1050P
14 ºñ½ºº¼Æ® Fe
Dimensions (´ÜÀ§ : mm)
±âÈ£/ ȣĪ D1 E A M
15 PT1/2 - 14 32 65 M28 ¡¿ 1.5
20 PT3/4 - 14 38 75 M33 ¡¿ 1.5
25 PT1 - 11 45 86 M42 ¡¿ 2
32 PT1 1/4 - 11 53 102 M52 ¡¿ 2
* Âü°íÄ¡¼öÀÓ